91 Ford Taurus Fuse Box

91 Ford Taurus Fuse Box. Fuses and circuit breakers protect your vehicle’s electrical system from overloading. In this article you will find a description of fuses and relays ford, with.

91 ford taurus fuse box
91 ford taurus fuse box from diagramwiringmaija88.z13.web.core.windows.net

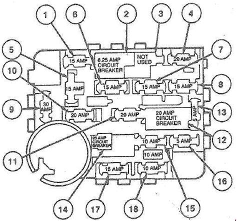
The fuse panel is located under the instrument panel to the left of the steering wheel. The fuse box is located under the instrument panel to the left of the steering. Web 2001 ford taurus fuse box locations:1) under the dashboard2) under the hood

Web Video On The Location Of Two Fuse Boxes (Junction Boxes / Relay Boxes) On Ford Taurus Sedan ( 2013 | 2014 | 2015 | 2016 | 2017 | 2018 | 2019 | Se | Sel | Lim.


Web ford taurus 2011 fuse box. Web there are 2 boxes passenger compartment fuse panel the fuse panel is located below and to the left of the steering wheel by the brake pedal. Web checking and replacing fuses.

The Fuse Panel Is Located Under The Instrument Panel To The Left Of The Steering Wheel.


Arnold 2 months ago 0 4 mins. Fuses and circuit breakers protect your vehicle’s electrical system from overloading. Web 2001 ford taurus fuse box locations:1) under the dashboard2) under the hood

So In Case Your Radio Is.


Web instrument panel fuse box diagram. Ford taurus 2011 fuse box info. In this article you will find a description of fuses and relays ford, with.

Web Video On The Location Of The Radio Fuse, Amplifier Fuse, Ford Sync Fuse, Radio Frequency Module And Heads Up Display On Ford Taurus.


In this article you will find a description of fuses and relays ford, with. If electrical parts in your vehicle are not working, the system. Jonathan yarden may 06, 2021 · 5 min.

All Power Lock Motor Feeds, Decklid Release (Taurus),.


Web the 2019 ford taurus has 2 different fuse boxes: The fuse box is located under the instrument panel to the left of the steering. Jonathan yarden may 06, 2021 · 5 min.